• > 集佳知識產權代理有限公司 > 集佳周訊 > 2018年 > 集佳周訊2018年第08期 > 論壇博覽 > 關于“公知常識”的案例 ——“用于在層系統中重新制造擴散器的方法”專利復審案評析
EN  日本語  韓國語
上一期 | 總第655期(2018.02.25-2018.03.02)
  • 首頁
  • 行業動態
  • 集佳動態
  • 熱點聚焦
  • 法眼觀察
  • 論壇博覽
  • 知識產權史上的今天
關于“公知常識”的案例 ——“用于在層系統中重新制造擴散器的方法”專利復審案評析
  •   文/集佳知識產權代理有限公司 張春水

      本文案例爭議的焦點主要是區別技術特征是什么,并且如何判斷權利要求所要求保護的技術方案與現有技術之間的區別技術特征是否為公知常識。

      一、案情

      本案涉及申請日為2014年2月4日、發明名稱為“用于在層系統中重新制造擴散器的方法”的PCT發明專利申請(以下稱為本申請),其申請號為201480011972.9,優先權日為2013年3月6日,進入國家階段的日期為2015年9月1日。

      在實審階段,國家知識產權局的實質審查部門(以下簡稱實審部門)以本申請權利要求1-6不符合專利法第22條第3款的規定為由,于2016年10月8日發出了駁回決定,駁回了本申請。駁回決定引用對比文件如下:CN 102587999A(下稱對比文件1),公開日期為2012年7月18日。

      駁回決定針對答復第一次復審通知書所提交的權利要求,其中獨立權利要求1如下:

      “1. 一種重新制造具有靠外的擴散器(13)的在由金屬的襯底(4)和至少一個層(7’’,10’’)構成的層系統中的貫通孔(18’)的方法,其中首先將在所述襯底(4)的厚度上具有橫截面的貫通孔(18)引入到所述襯底(4)中;其中隨后才將所述襯底(4)用靠內的金屬層(7’’)和/或靠外的陶瓷層(10’’)覆層;并且隨后在最后的加工步驟中,將擴散器(13)引入到所述層(7’’,10’’)和所述襯底(4)中;其中首次為所述擴散器(13)移除所述襯底(4)的擴散器部分(15)中的附加的材料;其中所述擴散器部分(15)為所述貫通孔(18)在表面(16’)上的擴寬部,并且其中所述擴散器(13)為所述貫通孔(18)的上部部分的不對稱的擴寬部。”

      

      本申請附圖3

      7’’-層;10’’-層;13-擴散器;15-擴散器部分;16’-表面;18-孔;18’-貫通孔

      

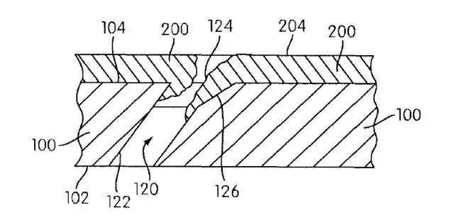
      對比文件1附圖2

      100-襯底;102-第二壁表面;104-第一壁表面;120-貫通孔;122-計量孔;124-冷卻孔出口;126-翼狀槽;200-熱障涂層;204-表面

      駁回決定指出:權利要求1相對于對比文件1以及公知常識不具有創造性。具體而言,對比文件1公開了一種用于提供膜冷卻制品的方法(參見對比文件1說明書[0016]-[0033]段,附圖1至6),其具體公開了以下內容:用于提供膜冷卻制品的方法應用于燃氣渦輪發動機組件的加工制造中,且該方法用于制造重建具有靠外的擴散器的在由金屬的襯底100和至少一個熱障涂層200構成的層系統中的貫通孔的方法,在金屬的襯底100上形成圓柱形通孔,將熱障涂層200進行覆蓋,并將擴散器引入到熱障涂層200和襯底100中,在襯底100中具有擴散器部分,且擴散器部分為通孔在襯底100上表面的擴寬部,而擴散器為通孔的上部部分的不對稱的擴寬部(權利要求1的重新制造具有靠外的擴散器的在由金屬的襯底和至少一個層構成的層系統中的貫通孔的方法,其中首先將在所述襯底的厚度上具有橫截面的貫通孔引入到所述襯底中;其中隨后才將所述襯底用靠內的金屬層和/或靠外的陶瓷層覆層);其中在襯底100的上表面附近,加工時已經開設有在表面的擴寬部;熱障涂層200可為具有不同成分的兩層或多層,且在一些情況下可為連結涂層,接著是陶瓷頂層涂層。例如,MCrAlY(其中M為Fe,Co,Ni或組合)或其它材料層可作為連結涂層施加,接著是陶瓷頂層涂層;其中所述擴散器部分為所述貫通孔120在表面上的擴寬部126,并且其中所述擴散器為所述貫通孔120的上部部分的不對稱的擴寬部226。該權利要求所要求保護的技術方案與對比文件1的區別在于:在最后的加工步驟中,將擴散器引入到所述層和所述襯底中;其中首次為所述擴散器移除所述襯底的擴散器部分中的附加的材料;基于該區別特征本發明技術方案實際解決的技術問題是:對襯底進行加工。對于該區別技術特征,本領域技術人員在面對上述技術問題時,由于對比文件1的技術方案中已經說明了在鋪設熱障涂層200前對襯底100的上表面開設擴寬部的技術方案,在對比文件1技術方案的基礎上,根據實際情況,合理設置襯底100的上表面擴寬部的加工時機是本領域常用技術手段;在該對比文件的基礎上結合上述本領域常用技術手段以獲得該權利要求所要求保護的技術方案,對所屬技術領域的技術人員來說是顯而易見的,因此該權利要求所要求保護的技術方案不具備突出的實質性特點和顯著的進步,因而不具備創造性。

      申請人針對上述駁回決定,于2016年11月18日向專利復審委員會提交了復審請求書,沒有對申請文件進行修改。申請人在復審請求書中認為:

      本申請獨立權利要求1要求保護一種重新制造具有靠外的擴散器(13)的在由金屬的襯底(4)和至少一個層(7’’,10’’)構成的層系統中的貫通孔(18’)的方法,其中首先將在所述襯底(4)的厚度上具有橫截面的貫通孔(18)引入到所述襯底(4)中;其中隨后才將所述襯底(4)用靠內的金屬層(7’’)和/或靠外的陶瓷層(10’’)覆層;并且隨后在最后的加工步驟中,將擴散器(13)引入到所述層(7’’,10’’)和所述襯底(4)中;其中首次為所述擴散器(13)移除所述襯底(4)的擴散器部分(15)中的附加的材料;其中所述擴散器部分(15)為所述貫通孔(18)在表面(16’)上的擴寬部,并且其中所述擴散器(13)為所述貫通孔(18)的上部部分的不對稱的擴寬部。

      對比文件1(CN102587999A)公開了一種提供膜冷卻制品的方法。

      對照本申請的獨立權利要求1,對比文件1沒有公開本申請的獨立權利要求1中的如下技術特征:在最后的加工步驟中,將擴散器(13)引入到所述層(7’’,10’’)和所述襯底(4)中;其中首次為所述擴散器(13)移除所述襯底(4)的擴散器部分(15)中的附加的材料。

      對比文件1教導的是一種再次敞開計量孔的方法,其用于舊構件的翻新或再處理。也就是說,冷卻孔120的翼狀槽126(擴寬部)在施加熱障涂層200之前就已經存在于原有制品100中。這類似于本申請圖2中所示的現有技術。

      而本申請涉及的是一種重新制造具有擴散器的貫通孔的方法,其用于新構件。從圖3可知,首先在襯底4中加工出貫通孔18,此時在襯底4中并不具有擴散器部分15;然后進行覆層;最后制造擴散器13,即首次為所述擴散器13移除所述襯底4的擴散器部分15中的附加的材料。也就是說,在覆層前在襯底4中并不具有擴散器部分15。

      通過本申請的方法可以減少必須移除的覆層材料、更快地制造擴散器以及使層相互間的和/或與襯底的中間層接合承受明顯更小的應力。

      從對比文件1的圖2中可知,由于在覆層前已經存在擴寬部126,因此在覆層時,熱障涂層材料也沉積在該擴寬的區域中,這使得在隨后再次敞開帶有擴寬部的計量孔時必須移除更多的熱障涂層材料。而借助本申請獨立權利要求1的技術方案,可有效地解決上述技術問題。

      此外,由于對比文件1的方法是針對舊構件的翻新或再處理,其能夠以一個步驟將原先已經存在的帶有擴寬部的計量孔再次敞開。而本申請的方法涉及的是新構件的加工,其在覆層前后以兩個步驟重新制造貫通孔和擴散器。因此本領域技術人員在面對上述技術問題時,不可能有動機從對比文件1中獲得任何啟示來獲得本申請獨立權利要求1的技術方案。

      綜上所述,本申請獨立權利要求1的技術方案相對于對比文件1是非顯而易見的,相對于對比文件1的現有技術具有突出的實質性的特點。

      進而,利用本申請獨立權利要求1限定的技術方案,由于其所具有的上述突出的實質性特點,可以解決現有技術中存在的技術問題,實現預期的技術目的,具有明顯的技術效果。因此本申請獨立權利要求1相對于對比文件1具有顯著的進步。

      由此可見,本申請獨立權利要求1的技術方案可以滿足本領域的需求,同時對比文件1并沒有涉及本申請的發明要點,也沒有解決現有技術中存在的問題,本領域技術人員也不可能從對比文件1中獲得任何技術啟示來獲得本申請的技術方案,與對比文件1相比,本申請獨立權利要求1的技術方案不僅具有突出的實質性特點,而且具有顯著的進步,因此本申請獨立權利要求1具有專利法第22條第3款規定的創造性。

      隨后,專利復審委員于2017年5月8日發出了復審決定書,撤消了國家知識產權局在2016年10月8日作出的駁回決定。該復審決定的要點為:如果一項權利要求請求保護的技術方案與最接近的現有技術相比存在區別技術特征,則該權利要求具備新穎性;如果沒有足夠證據表明該區別技術特征為本領域的公知常識,同時現有技術也未給出使用該區別技術特征解決相應的技術問題的啟示,并且該區別技術特征為該權利要求請求保護的技術方案帶來了有益的技術效果,則該權利要求具備創造性。

      二、專利代理人評析

      本案爭議焦點主要是區別技術特征是什么,并且如何判斷權利要求所要求保護的技術方案與現有技術之間的區別技術特征是否為公知常識。

      在駁回決定中實審部門認為該案的區別技術特征“對襯底進行加工”是公知常識,其理由是,本領域的技術人員根據需要可以進行相應的設定。而申請人認為該案的區別技術特征是“在最后的加工步驟中,將擴散器(13)引入到所述層(7’’,10’’)和所述襯底(4)中;其中首次為所述擴散器(13)移除所述襯底(4)的擴散器部分(15)中的附加的材料”,它不是公知常識。

      在本案中,實審部門忽略的對比文件1和本申請的方法針對不同的工件,并且對襯底進行擴散部的加工順序是不同的。實質上,實審部門將本申請的權利要求1的各個特征機械地割裂開來,沒有從整體上理解對比文件1和本申請的權利要求1的技術方案,從而低估的本申請的創造性,犯了“事后諸葛亮”的錯誤,因此得出了錯誤的結論。

      通過該案能夠給我們的一些啟示是,雖然實審部門在認定區別技術特征時,好像站在本領域的技術人員的角度上,結合本領域的基本原理進行了分析,并通過相應的邏輯分析來確定區別技術特征為公知常識。但是,專利代理人一定不能輕易地接受實審部門的意見,而是要仔細分析,推敲實審部門的分析是否合理,是否存在證據。如果專利代理人發現實審部門只是簡單地分析,推論某一區別技術特征為公知常識時,那么專利代理人需要進行詳細地分析,找出與已有對比文件相應技術特征的區別,著重論述它們具有不同的功能,實現不同的效果,甚至可以要求審查員進行舉證,從而為申請人爭取到更大的利益。

    此篇文章由北京集佳知識產權代理有限公司版權所有,轉載請注明出處     
?2016 Unitalen Attorneys at Law    免責聲明