• > 集佳知識產權代理有限公司 > 集佳周訊 > 2023年 > 集佳周訊2023年第06期 > 論壇博覽 > 堅持爭辯or進一步修改?論與審查員的博弈之道
EN  日本語  韓國語
上一期 | 總第904期(2023.02.11-2023.02.17)
  • 首頁
  • 行業動態
  • 集佳動態
  • 熱點聚焦
  • 法眼觀察
  • 論壇博覽
  • 知識產權史上的今天
堅持爭辯or進一步修改?論與審查員的博弈之道

  文/北京集佳知識產權代理有限公司 蔣靜靜

 

  在答復審查意見通知書中審查員關于權利要求的新創性意見時,代理人面對的并非僅僅是案件本身。更確切地說,這是一場與審查員的博弈。因為審查員對于本申請和其所引用的對比文件的解釋是基于其自身的理解,這顯然不可避免地帶入了主觀認知。因此,代理人在分析本申請與對比文件的方案的同時,更重要的是充分吃透審查員對本申請和對比文件中的方案的理解。從審查員的邏輯中尋找漏洞以及發現審查員對技術方案理解的偏頗,對于代理人地成功地克服審查員的拒絕往往起著至關重要的作用。下面,筆者將就一個具體案例來論述與審查員的一場博弈過程。

  發明名稱為水平調節裝置的專利申請,其原始提交的權利要求1限定了如下技術特征:

  一種用于軌道車輛的水平調節裝置,所述水平調節裝置具有懸架單元,所述懸架單元設置在所述軌道車輛的轉向架和廂體之間,并且分別由至少一個彈簧和至少一個氣動的或液壓的往復活塞元件構成,

  其特征在于,

  所述往復活塞元件在行駛運行中縮回至,使得其不跨過所述廂體和所述轉向架之間的間距。

  審查員在第一次審查意見通知書中引用了僅一篇對比文件(CN103534161A)來評價權利要求的創造性。

  經過對本申請的技術方案和對比文件1的分析,代理人認為本申請的技術方案事實上與對比文件1存在較大區別。但是,由于權利要求1的文字表述并沒有清楚地體現出這種區別,于是代理人在答復第一次審查意見通知書時進行了修改,將技術特征“所述往復活塞元件在高度匹配于站臺棱邊時跨接所述彈簧”補充到了權利要求1中。

 

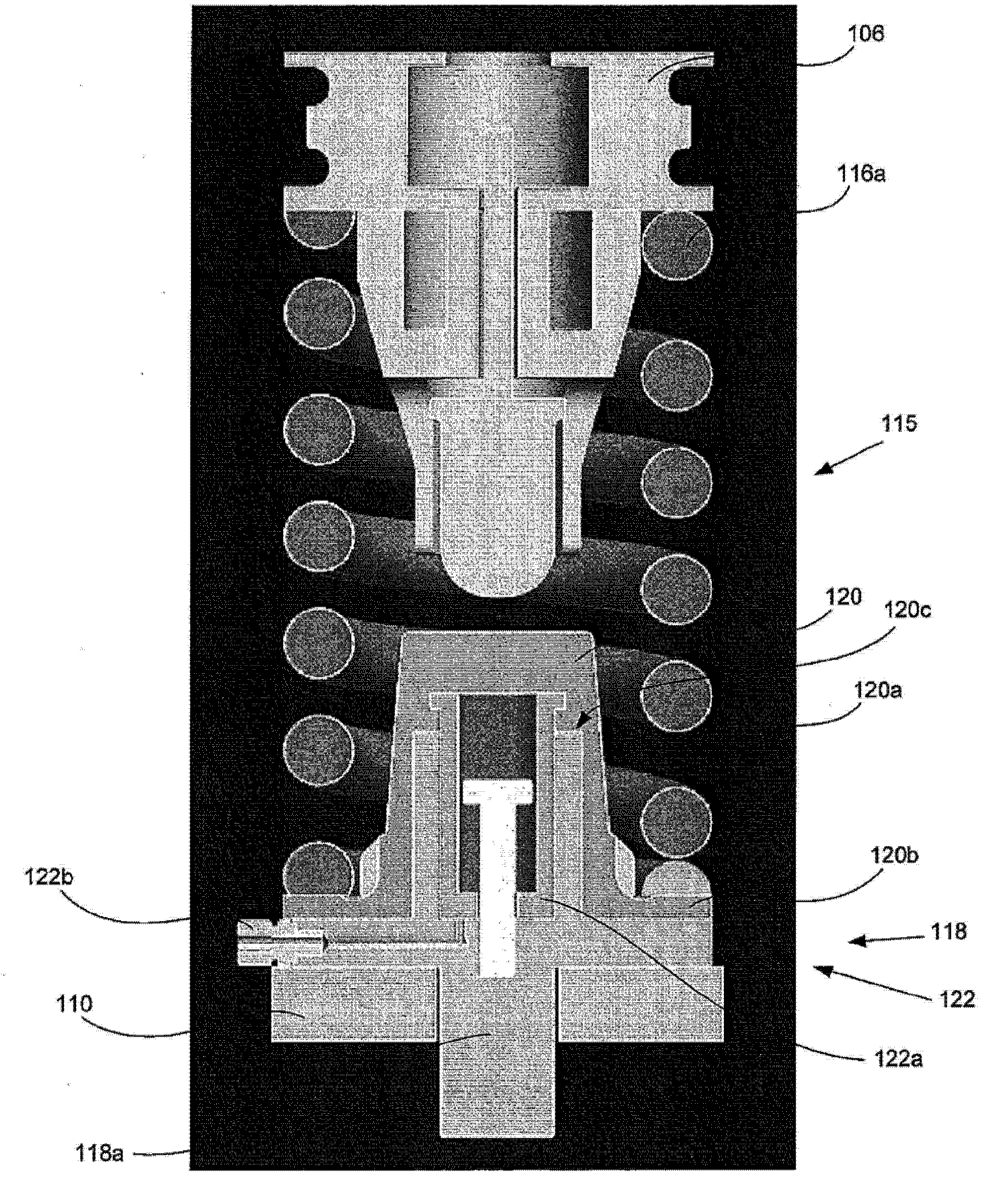
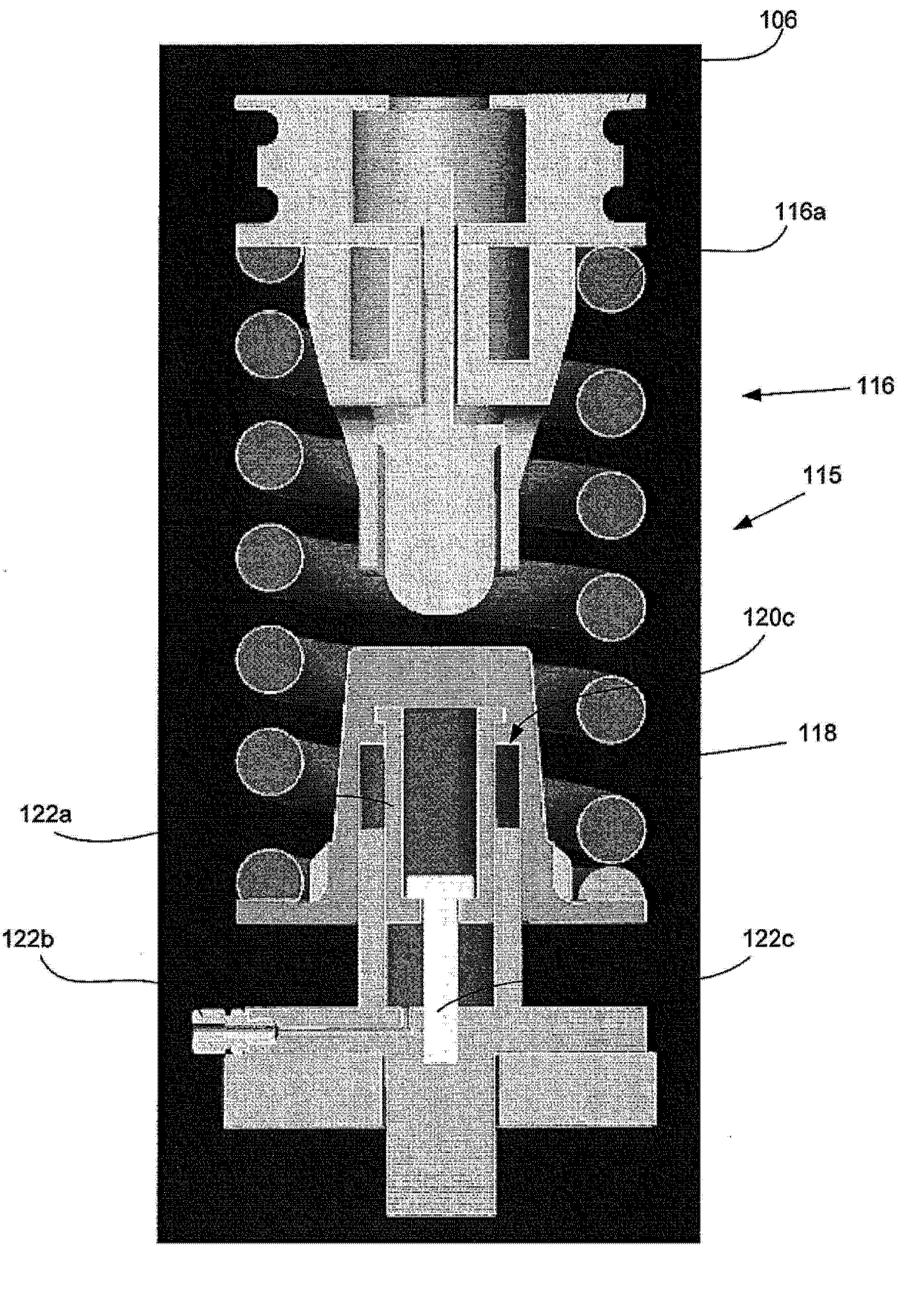
  對比文件1公開了一種調平懸掛115,其包括與SML118接合的彈簧116a,其中彈簧116a的上表面與上部結構106(對應于本申請中的廂體)接合,而SMLS的下端118a與轉向架110接合。此外,SMLS118包括彈簧支架(SM)120和活塞組件122。SM 120包括定位在螺旋彈簧116a內的空心缸筒120a。

  可以看到,對比文件1中的調平懸掛115的結構與本申請中的水平調節裝置不同。對比文件1公開了,SM還包括連接到缸筒上的凸緣120b。凸緣120b從螺旋彈簧向外延伸并靠接螺旋彈簧的一端。當通過擠壓件122b注入的加壓液體作用于活塞122a上時,活塞升高彈簧116a,從而升高上部結構。由此可見,當進行高度調節時,彈簧的下端部是被升高的。這就是說,彈簧并不跨接廂體(上部結構)和轉向架之間的空間。根據一般常識,彈簧是不可能完全壓縮的(完全壓縮即彈簧的長度等于零),因此,對比文件1中的活塞組件的下表面不可能到達彈簧的上端部。由此可見,對比文件1中的活塞組件無法跨接彈簧。

  此外,對比文件1中的活塞組件122需要克服廂體(上部結構)的重力和彈簧本身的重力。然而,本申請中的彈簧總是跨接廂體和轉向架之間的空間。也就是說,往復活塞元件僅僅需要克服廂體的重力以輔助彈簧。因此,所需要的高度控制能量降低。

  代理人在答復第一次審查意見通知書后,對于該案的前景是非常看好的。然而,讓代理人意外的是,審查員并沒有接受代理人的答復意見,而是又下發了第二次審查意見通知書并且在其中指出,將活塞的一段設置在車體上并且活塞另一端設置在列車的轉向架上對于本領域技術人員是顯而易見的。

  在閱讀本次審查員意見通知時,代理人已經隱約地察覺審查員其實并未充分理解對比文件的技術方案。但是,考慮到這是第二次審查意見通知書,如果僅進行爭辯而不進行修改,本申請很有可能將被駁回。但是,如何進行進一步修改能夠讓審查員意識到其對對比文件和本申請的技術方案理解有誤,對于代理人來說存在一定難度。經過慎重考慮,代理人還是決定從裝置本身的結構入手。于是,在提交針對第二次審查意見的答復時,代理人將權利要求1修改為:

  一種用于軌道車輛的水平調節裝置,所述水平調節裝置具有懸架單元,所述懸架單元設置在所述軌道車輛的轉向架和廂體之間,并且分別由至少一個彈簧和至少一個氣動的或液壓的往復活塞元件構成,

  其特征在于,

  所述往復活塞元件由缸和可移動地支承在所述缸中的活塞構成,所述往復活塞元件在行駛運行中縮回至,使得其不跨過所述廂體和所述轉向架之間的間距,并且所述往復活塞元件在高度匹配于站臺棱邊時跨接所述彈簧,其中在所述往復活塞元件跨接所述彈簧時所述活塞的下側支撐在轉向架上使得在乘客登上和離開或者加載和卸載時得到期望的剛性表現。

 

  在本申請中,當往復活塞元件在高度匹配于站臺棱邊的情況下跨接副彈簧時,有利地在乘客登上和離開或者加載和卸載時得到期望的剛性表現。這是因為往復活塞元件的缸體支承在車體上并且活塞的下端部支承在列車的轉向架上。

  然而,在對比文件1中活塞組件的上表面不可能到達彈簧的上端部。因為彈簧的上端部支承在車體上,所以活塞組件不可能到達車體。也就是說,在對比文件1中,車體實質上在任何時間都是通過彈簧支承在轉向架上,活塞元件僅起輔助作用。換言之,即使活塞組件進行提升,車體仍舊通過彈簧支承在轉向架上。彈簧在受力時會壓縮,在釋力時會伸長,顯然,在對比文件1中,在乘客登上和離開或者加載和卸載時不可能實現剛性表現。

  在本申請中,正是由于將活塞兩端分別直接設置于轉向架和車體上能夠實現特殊的技術效果。代理人向審查員指出,對比文件1所給出的完全是反向教導,因此本申請的技術方案對于本領域技術人員顯然不是顯而易見的。

  然而,令代理人萬分驚訝的是,提交關于第二次審查員意見通知書的答復后,審查員不僅沒有接受代理人的意見,反而下發了駁回決定。但是,代理人經過之前對本申請和對比文件的技術方案的詳細研究,仍舊堅持自己的判斷:本申請的權利要求與對比文件的技術方案完全不同并且審查員并沒有正確地理解本申請和對比文件的技術方案。此外,代理人注意到,雖然審查員下發了駁回決定,但是審查員在駁回決定里的意見有了一定的遲疑和讓步。這讓代理人看到了說服審查員的希望。

  在駁回決定中,審查員承認本申請中的活塞往復元件和彈簧的安裝方式與對比文件1中活塞往復元件和彈簧的安裝方式不同。但是審查員認為將活塞的兩端直接固定在轉向架和車體上對于本領域技術人員是顯而易見的。此外,即使在活塞往復元件跨接彈簧時所述活塞的下側支撐在轉向架上時,在乘客下車時車體所受的載荷減少,即活塞所受的壓縮負荷減少,彈簧會伸長,而活塞會回縮,即不能再跨接彈簧,導致也無法實現剛性表現。

  在這段評述中,審查員充分且明確地暴露了其為何會錯誤地理解本申請的技術方案。因為他對乘客下車時因為車體所受的載荷減小彈簧會伸長而活塞會回縮的判定完全屬于其主觀臆斷。活塞往復元件是氣動或者液壓的活塞往復元件,其和彈簧是彼此獨立工作的元件,活塞的下側支撐在轉向架上不是依靠自身重力而是通過工作介質做功實現的,換言之,活塞是否能夠支撐在轉向架上是通過工作介質來控制的,與彈簧毫無關系。也就是說,在活塞的下側支撐在轉向架上時,完全由活塞往復元件承受車體的負荷,在此時,無論車體中的負荷增大還是減少,活塞的下側都不會離開轉向架,因為其是通過工作介質來控制的,而輸送多少工作介質是通過駕駛員來操作的,這顯然能夠保證活塞往復元件在跨接彈簧時一直保持在車體和轉向架之間,彈簧此時所承受的負荷增大或減少對其完全沒有影響。也就是說,只要活塞往復元件在高度匹配于站臺棱邊時跨接所述彈簧的情況下,總是能夠保證期望的剛性表現。

  事實上,代理人原本不準備再對權利要求進行修改,因為代理人認為當前的權利要求1已經可以明確地與對比文件區分開來。但是,代理人考慮到,在提交復審請求時,本案會先回到前置審查員手中,如果能夠讓前置審查員意識到自己對方案的理解錯誤,本案可能不需要經過復審即可獲得授權。于是,在提交的復審請求時所做的修改的含義就很微妙。首先,該修改不應再縮小權利要求的保護范圍,其次,該修改應該對于代理人所做的爭辯有輔助作用。于是,添加功能性限定就成為了一種很好的選擇。因此,代理人將“可靠地防止軌道車輛的不期望的擺動”補充到權利要求1中,將其作為對權利要求1中的“期望的剛性表現”的具體解釋。

  事實證明,代理人的堅持是正確的。前置審查員接受了代理人在復審請求書中所作的爭辯,并且下發撤銷駁回決定的復審決定。

  代理人欣慰之余深切地認識到,堅持與自信是每個代理人最先應具備的品質。其次,既要敢于質疑,又要掌握方式方法,畢竟代理人面對的并非是機器而是同樣有主觀意識的人。因此,在人與人之間的博弈中,心理學起到很重要的作用。審查員有時并非不愿承認自己的錯誤,而是一葉障目不見泰山。因此,在堅持爭辯的同時技巧性地進行相應的修改,能夠更有力地說服審查員,為獲得授權添磚加瓦。

  本案的過程僅僅只是與審查員博弈過程的冰山一角。在答復審查意見通知書時,代理人會遇到各式各樣的審查員以及五花八門的審查意見。但無論如何,吃透技術方案以及充分掌握審查員對技術方案的理解永遠是重中之重。

  

此篇文章由北京集佳知識產權代理有限公司版權所有,未經授權請勿轉載     
?2016 Unitalen Attorneys at Law    免責聲明